
Un hotel no es una fábrica de camas. Es una fábrica de experiencias.
Seguramente ya suena este eslogan porque lo hemos repetido mil veces en los diversos foros en los que participamos, tanto hablados como por escrito. Y para que realmente los hoteles sean factorías de experiencias hay que empezar a cambiar muchos de sus tics que los convierten en espacios aburridos y servicios vacuos de contenidos. En diversas ocasiones nos hemos referido a la insoportable rutina morfológica de la L, esto es, el diseño cartesiano de una habitación de hotel en el que el cuarto de baño se configura junto a la entrada, lo que deja un pequeño pasillo conducente a la alcoba, cuya planta en su conjunto adopta la forma de la letra ele. Y, al mismo tiempo, hemos abogado por la ruptura de este modelo invariable, tal vez porque representa la distribución de espacios más eficiente en un hotel, probablemente la más económica y seguramente la más cómoda de mantener y limpiar. Pero abogado por su disrupción porque ello permitiría un grado de emocionalidad superior, derivada de la novedad que cualquier modificación estructural o morfológica podría suponer para el negocio hotelero.
Bien, pues la iniciativa en ese sentido ya la ha tomado una de las corporaciones hoteleras más importantes del mundo. InterContinental Hotel Group (IHG) acaba de diseñar una nueva tipología de habitación denominada WorkLife. Y no solo eso. Además, la ha patentado en la oficina norteamericana de marcas y patentes, la United States Patent and Trademark Office (USPTO), algo nada común en la industria hotelera. Muchos se preguntar hoy, ¿acaso se puede patentar un diseño de habitación? La respuesta de esta oficina es afirmativa, siempre que reúna unas condiciones originales y reconocibles como nunca experimentadas. Una tarea bien sencilla para el grupo IHG porque la industria hotelera habrá podido dar saltos tecnológicos innovadores en los últimos años, incluso rediseñar la estructura de los espacios comunes y sus circulaciones, la gestión de los puntos de venta, la naturalización de las tipologías alojativas, pero nunca ha sido capaz de renovar por completo el concepto de la habitación para dormir, descansar o realizar las abluciones cotidianas.
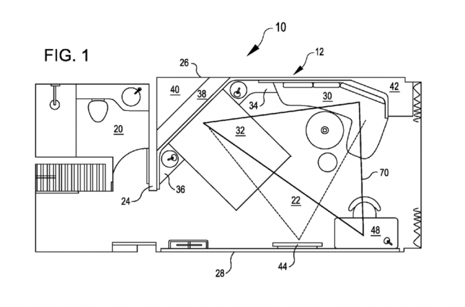
La solicitud de patente tuvo un perfil necesariamente abstracto, como el observable en la ilustración siguente:

La directriz marcaba desde el inicio una reorientación de la cama y sus adminículos auxiliares, así como la consecuente basculación del mobiliario para la visión óptima de la televisión, sin que afecte al movimiento de personas en el interior de la estancia. Como se puede ver, esta nueva distribución deja numerosos ángulos y espacios muertos.
El perfil aplicado a los alojamientos que el grupo regenta bajo la marca Crowne Plaza establece que la cama en ángulo abre espacios originales en las distintas zonas de la habitación. Un sofá arrinconado permite con comodidad ver la televisión, trabajar, reunirse con amigos o relajarse en soledad. Está contemplado un pequeño escritorio despejado, una estación de bienvenida para llaves, bolsas y abrigos. Y, desde luego, un cuarto de baño luminoso y estructurado con criterios modernos, sin bañera y sin bidé. Los enchufes se multiplican para comodidad de los huéspedes tecnificados. Los escritorios se configuran de manera que no malgastan sitio a veces no disponible, bien surtidos de conexiones e Internet ultrarrápido, con amplios respaldos para el móvil, la tableta o el ordenador portátil.
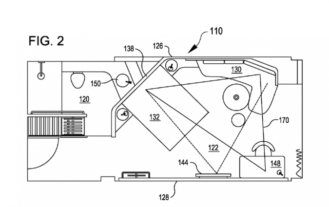
Así que una vez concedida la patente sobre este concepto de habitación solo hacía falta el diseño real de la pieza, lo que es visible en la ilustración que exponemos a continuación:

Este diseño sobre el papel elimina los ángulos y espacios muertos, integra todo el mobiliario en la planta espacial y otorga mayor protagonismo a las circulaciones interiores, al movimiento de personas por sus distintas secciones y pone foco a los elementos más visuales, como el propio monitor de televisión.
La USPTO gubernamental apreció el esfuerzo innovador del modelo y accedió a conceder una patente exclusiva a este diseño de habitación. En la memoria añadía el hecho meritorio de que una cadena internacional se planteara la disrupción de las formas tradicionales de diseño hotelero.
La WorkLife Room será implementada paulatinamente en todos los hoteles de la marca Crowne Plaza.
Fernando Gallardo |
El sistema de patentes es actual, pero una vez más veo que lo innovador de este diseño radica en «descuadrar el circulo» …quita esquinas y vuelve a acercarse a el espacio único de geometría fácil …la planta circular de las primeras chozas que edificaron los primeros constructores, que posibilitaba una cubierta cónica sencilla de materiales asequibles y cercanos. Cuando todo se sofistica y se complica a nuestro alrededor nada como descubrir lo esencial , lo auténtico y vivirlo… o saber venderlo ( patente de choza…).
Muy de acuerdo con esta idea. Back to the basics.